為不斷提升系統的高效運轉,我們近期對財務功能進行了全面升級。此次升級將數據進行細分統計,并提供了全新的總覽功能。新的財務功能包括:銷售統計、收支統計、供應統計、分銷統計、余額統計、消息通知和數據大屏等模塊。這些改進旨在幫助財務人員、銷售人員以及文旅機構管理者更快速地獲取和分析各類數據。
此外,為解決文旅機構在財務數據核算中的各類難題,我們對數據進行了深入處理,實現了數據的匯總與細分統計。這使得我們可以更快捷地查詢各類具體數據,提升了工作效率。
財務管理
1、財務總覽:財務總覽(銷售統計概覽、收支統計概覽、供應統計總覽、分銷統計總覽)
2、銷售統計:銷售統計、核銷統計、退款統計
3、收支統計:收支統計、收入明細、支出明細
4、供應統計:供應商統計、結算審核、提現統計、提現審核、結算規則
5、分銷統計:分銷統計、傭金明細、提現統計、提現審核、提現配置
6、余額統計:余額統計、余額明細
7、消息通知:短信通知、郵件通知、企業微信
8、數據大屏:大屏設置、預覽大屏
財務總覽功能實現快速查看平臺運營情況
統計指定時間范圍內總銷售額、訂單優惠金額、支付后待確認訂單數量和金額、待消費訂單數量和金額、已發貨訂單數量和金額、已完成訂單數量和金額、退款待審核訂單數量和金額、已退款訂單數量和金額。可通過快捷菜單快速進入銷售統計表、核銷統計表、退款統計表。

統計指定時間范圍內支付收入訂單數量和金額、退款等支出訂單數量和金額、平臺結存金額。可通過快捷菜單快速進入收支統計表、收入明細、支出明細。

統計指定時間范圍內供應商結算相關的數據,包含已結算訂單數量和金額、未結算訂單數量和金額、不可結算訂單數量和金額。可通過快捷菜單進入供應統計、結算審核、結算規則。
統計指定時間范圍內供應商提現相關的數據,包含已提現訂單刷領和金額、提現申請未審核訂單數量和金額、提現審核未通過訂單數量和金額。可通過快捷菜單進入提現統計、提現審核。

統計指定時間范圍內分銷傭金結算的相關數據,包含已結算傭金訂單數量和金額、未結算訂單數量和金額。可通過快捷菜單進入分銷統計和返傭明細。
統計指定時間范圍內分銷傭金提現的相關數據,包含已提現傭金訂單數量和金額、提現申請未審核訂單數量和金額、提現審核未通過訂單數量和金額。可通過快捷菜單進入提現統計、提現審核和提現設置。

滿足銷售型財務數據統計需求,統計銷售額、利潤、利潤率等數據。
統計指定時間內產生的訂單各個狀態下數量、銷售金額、預收款、實銷額、采購成本、銷售成本、利潤、利潤率、產品退貨率。統計查詢時間范圍內產生的訂單作為基數,在當前狀態下的統計數據,隨著訂單狀態的變化,統計結果會有不同。該統計主要用于動態觀察業務變化情況,動態跟蹤各種指標的變化,核心指標為總銷售額成本和利潤。
統計訂單分為未支付和已支付,未支付訂單包含支付前待確認、待支付、已關閉,已支付訂單包含支付后待確認、待消費、已發貨、已完成、退款待審核、已退款。
銷售業績數據統計主要基于已支付訂單,分為總銷售額、優惠額(已支付訂單中使用積分、紅包、折扣、優惠券等優惠的金額)、預收款(是指客戶支付的訂單還未消費的狀態,這部分資金可能隨時會被退款屬于企業預收款)、實銷額(是指已支付訂單中已經消費完成的訂單金額)、實退額(是指已支付訂單中已經退款完成的金額,訂單可能會發生部分退款的情況,這里統計實際退款金額非原始訂單金額)
銷售利潤數據統計主要基于已完成訂單進行統計,狀態為已完成的訂單資金為公司實際銷售收入,基于此數據可以統計成本和利潤。其中成本計算分為兩種情況:有供應商時成本為供應商成本+分銷傭金+運費,無供應商時成本為產品報價中的成本+分銷傭金+運費。訂單實際支付金額=成本+利潤。
數據分析中利潤率基于已完成訂單統計生成,支付轉化率基于全部訂單中已支付訂單的比值,退貨率基于已支付訂單數據與退款訂單的比值。

統計指定時間內完成核銷的訂單數據,基于訂單操作完成時間,與訂單銷售日期無關。可統計不同產品類型的核銷訂單數量、套餐數量(一個訂單可能會有多個套餐或多個游客)、核銷訂單金額、成本和利潤。

統計指定時間內發起退款申請的訂單數據,基于退款申請時間,與訂單銷售日期和退款完成日期無關。可統計不同產品類型的退款申請數量、已完成退款數量、退款手續費和實際退款金額(訂單可能發生部分退款的情況)。

適用于現金收入模式的財務制度
統計指定時間內的支付收入(訂單支付、充值、掃碼收款等)和支出(訂單退款、傭金提現等)流水統計,不關聯訂單狀態,無法統計訂單成本、利潤、利潤率、產品退貨率。
訂單支付和退款可能發生在不同的日期,僅統計區間內發生的支付和退款等操作記錄,該數據與支付平臺(微信支付、支付寶、通聯支付等)內收入和支出交易流水統計一致。該統計主要用于財務入賬和收入核對,更貼合于實際發生的資金流水。
收入來源分為線上支付和線下支付,分別統計支付中的收入訂單數量和金額,支出訂單數量和金額,并自動匯總收入訂單數量和金額,支出訂單數量和金額。

列表展示全部收入訂單信息,收入時間、金額、收入來源訂單號,支持快速查看來源訂單詳情。

列表展示全部支出訂單信息,支出時間、金額、支出來源訂單號,支持快速查看來源訂單詳情。

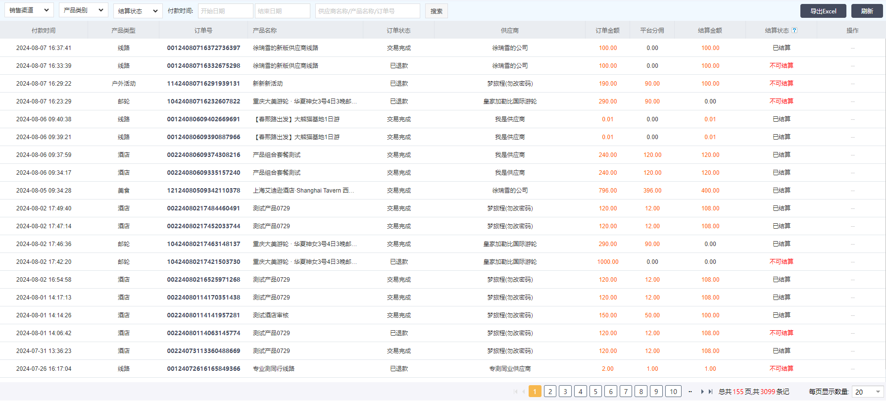
統計各個產品類型的供應商結算訂單數據,包含未結算數量、金額,已結算訂單數量、金額,不可結算訂單數量和金額。

列表展示全部供應商結算訂單信息,顯示付款時間、產品類型、來源訂單號、產品名稱、訂單狀態、供應商、訂單金額和結算金額,以及結算狀態和快捷操作。當訂單狀態為交易完成的線下支付的未結算訂單可以操作結算。線上支付的訂單交易完成時系統自動結算無需人工介入。

統計指定時間內的提現數據,區分不同的提現渠道(銀行卡、支付寶、微信等),提現審核數據和金額,審核未通過數量和金額,已提現成功數量和金額。

列表展示全部供應商發起的提現申請,顯示申請時間、供應商名稱、提現金額、提現方式和提現審核狀態。當申請為待審核狀態時可以操作審核,填寫提現信息后確認提現。

設置系統與供應商的結算方式,訂單完成開始計算T+N天自動結算,系統默認T+1天結算。當訂單是線上支付時,訂單完成后的第二天凌晨自動完成結算審核操作。
統計各個產品類型的傭金結算情況,包含未結算訂單數量和金額,已結算訂單數量和金額。

列表展示全部傭金訂單,顯示下單時間、來源訂單號、產品類型、產品名稱、傭金金額、是否已經結算狀態。當訂單消費完成后將自動進行結算,無需人工介入。

統計指定時間內的提現數據,區分不同的提現渠道(銀行卡、支付寶、微信等),提現審核數據和金額,審核未通過數量和金額,已提現成功數量和金額。

列表展示全部分銷員發起的提現申請,顯示申請時間、分銷員名稱、手機號、提現金額、提現方式和提現審核狀態。當申請為待審核狀態時可以操作審核,填寫提現信息后確認提現。

可對會員提現方式(銀行卡、支付寶、微信)、每次提現金額(無要求或最低金額)、每月提現次數(無限制或最多次數限制)、自動轉賬接口進行配置。

綜合統計不同方式的余額變動數據,包含充值、充值退款、消費、消費退款、提現、贈送、扣除產生的余額變動數據。

列表展示全部余額變動記錄,包含變動時間、會員手機號、變動類型、變化金額、變化后金額、發生變動的來源,以及來源訂單號。

支持設置提現申請(通知對象管理員)、提現未通過(通知對象會員)、提現完成(通知對象會員)的消息通知。

支持設置提現申請(通知對象管理員)、提現未通過(通知對象會員)、提現完成(通知對象會員)的消息通知。

支持設置提現申請(通知對象管理員)

支持設置大屏顯示名稱、數據時間范圍、看板模板和預覽地址。

大屏數據自動刷新,數據內容包含:累計訂單金額、訂單數量、已支付(待確認、待消費、已發貨、已完成、已退款),未支付(待確認、待支付、已關閉)
各個產品類型的訂單數、金額、已支付數量、金額、未支付數量、金額和品類占比。
滾動顯示在當前統計時間范圍內最新成交的前50個產品信息。
時間范圍內的訂單趨勢,指定時間訂單數、支付金額、未付金額。
范圍內的會員趨勢,指定時間內的會員新增數量。
范圍內訂單來源分析,統計PC端、WEB-H5、UNI-H5、微信小程序、支付寶小程序、抖音小程序、快手小程序等的訂單占比。
游客畫像顯示實名游客信息中的男女占比。

贊
1
有一點幫助
0
沒有幫助
小米